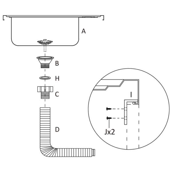
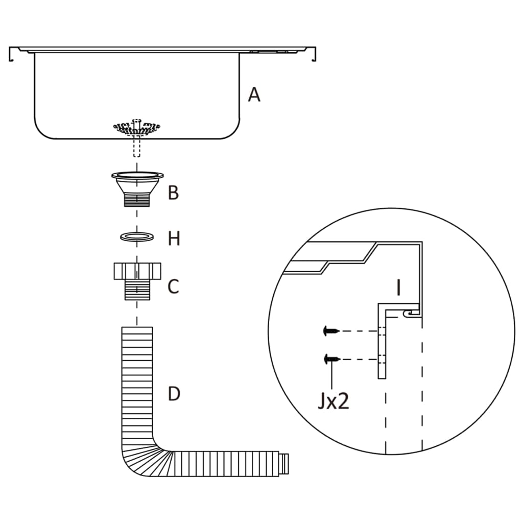
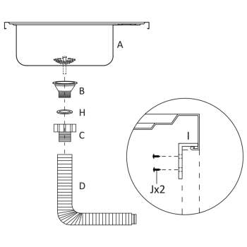
Diese Küchenspüle ist eine zeitlose Ergänzung Ihrer bestehenden Kücheneinrichtung. Sie verfügt über ein einzelnes Becken mit schlankem Design. Die Spüle ist aus SUS (rostfreiem Stahl) gefertigt, wodurch sie hitzebeständig, kratz- und stoßfest und außerdem leicht zu reinigen ist. Diese Küchenspüle hat einen extra starken Rand, um auf einem Küchenunterschrank montiert werden zu können. Die seitliche Abtropffläche bietet zusätzlichen Platz zum Trocknen deines Geschirrs. Sie verfügt außerdem über ein Ablaufrohr. Da die Küchenarmatur auf einer der beiden Seiten angebracht werden kann, kann die Spüle sowohl links als auch rechts eingebaut werden. Gut zu wissen:Dieses Spülbecken eignet sich für die Montage über oder unter der Arbeitsplatte.Unterschrank und Abflusssieb nicht im Lieferumfang enthalten!Der Wasserhahn kann an einem der beiden Löcher installiert werden (der Deckel über der Öffnung kann entfernt werden); je nach Einbaurichtung des Waschbeckens kann man eines der beiden Löcher (35 mm Durchmesser) wählen.Der Abfluss ist zum Zeitpunkt der Lieferung montiert; man muss ihn demontieren und dann wieder zusammenbauen.
- Farbe: Silbern
- Material: SUS (Edelstahl)
- Gesamtabmessungen: 800 x 500 mm (L x B)
- Becken-Größe: 427 x 357 cm (L x B)
- Tiefe: 150 mm
- Dicke vor dem Stanzen: 0,8 mm
- Höhe der 4 Kanten: 28 mm
- Hahnloch-Durchmesser: 35 mm
- Geeigneter Abflusssieb: 11 cm Durchmesser
- Passende Unterschrank-Maße: 800 x 500 mm (L x B)
- Empfohlene Schrankwandstärke: 9-12 mm (der Schrank ist nicht im Lieferumfang enthalten)
- Einbauart: Einbauspüle (von oben)
- Links/Rechts montierbar (vollständig reversibel)
- Mit Ablaufgarnitur und Rohr
- Mit 6 L-förmigen Halterungen
- Hahnloch kann nach Wunsch auf einer der 2 Seiten gestanzt werden
- Extra dicke Wände
- Hahnlöcher können abgedeckt werden
- Lebensmittelecht
- Zusammenbau erforderlich: Ja
- Lieferung umfasst:
- Lieferumfang: 1 x Spülbecken
- 1 x Abtropf-Set
- 1 x Rohr